My intuition is that the quarter inch of steeply pitched fluting is designed to ream out the passage in the outer member being joined, or at least ream out the outer 3/4" of 'hole'. Conceivably, this might reduce friction when driving in the screw over the final 3/4" ... or it could be a gimmick.
.
EDIT 2013-05-11:
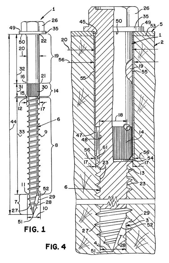
Here is a related patent http://www.freepatentsonline.com/7832173.pdf that claims in page 7 of the PDF that the purpose is to increase the screw's resistance to lateral displacement by mashing the fibers that will be next to the un-threaded shank.

.
.
And as for the ribs on the underside of the screw head, here is a related patent http://www.freepatentsonline.com/EP2546533A1.pdf that claims in paragraph [0005] that the objective is to lower the lower resistance when the screw is being locked into a wood piece for enabling the screw to carry out locking smoothly and quickly. Note that the patent discusses various kinds of ribs, including the ones pictured in the OP.

And here is a patent http://www.freepatentsonline.com/2070851.pdf for preventing screws from backing out, whic is different from nail shanks which may be fluted (and ribbed) to prevent backing out
.
.
And not last and not least, the McCoy:
http://www.screw-products.com/gold.htm
1) Knurled shoulder reams hole in board being fastened, reducing drag on shank and driving too.
2) True flat head with 16 cutting nibs self countersinks and prevents
spinout.

.
.
And last but not least, the Hatfield
http://www.nachi.org/home-inspectors-evaluating-problems-with-fasteners.htm
Apparently they sometimes are called CEE threads:
The CEE thread is designed to enlarge the hole in the uppermost of two
pieces being joined so that they’ll be more tightly pulled together.

.
.
grkfasteners.com take on it:
RSS™ screws which are 3"1/8 and longer have a six threaded CEE thread
that enlarges the screw hole for the non-threaded portion of the
fastener, allowing the wood to settle easily and increasing the
screw’s drawing strength. The CEE thread also reduces the likelihood
of splitting the wood and the friction on the screw shank which can
result in lowering the driving torque.
.
.
And to over do it, here is yet another patent, but this time referring to them as 'milling ribs' ...
http://www.freepatentsonline.com/20070269287.pdf

.
.
Maxxfast.com has it all in one ....

.
.
Fischer-Screws.com ....

.

.
.
Heco-Topix screws ...
http://www.heco-schrauben.de/en/Screws/HECO-TOPIX

.
.
Conclusion:
I'd imagine the ribs do ream the hole, which does reduce the friction on the unthreaded shank. But the reaming action will require energy, particularly so because the shank-ribs are reaming by virtue of damaging the wood fibres, as opposed to cutting them. The question is, which eats more energy: the reaming or the friction? The benefit would be the net drop (if any) in the required energy. It's actually much worse than that. Assuming a net drop, how much is the savings compared to the total energy needed to drive the screw? 1% ? 2% ? I think the savings, if any, would be miniscule. The shank-ribs could actually eat up more energy in net, particularly when the unthreaded portion is short, meaning 2" or less.
As for drawing the two pieces together more tightly. Bogus. Actually, counter productive. The screw draws the two pieces by gripping the outer piece while advancing into the other piece. It doesn't matter how it grips the outer piece. The obvious grip is by pressure undeneath the screw head. But the friction on the unthreaded portion of the shank also grips the outer piece similar to the grip of a nail of a similar diameter. With shank-ribbed screws, the grip on the outer piece no longer includes the friction on the unthreaded shank. With the shank-ribs, the grip will be limited to the force of the screw's head, and that, due to the reaming caused by the shank-ribs, will be diminished as well.