I am currently trying to find replacement fender clips for my car. The OEM part numbers are 01553-09321 (Nissan), 90044-68320 (Toyota), and MR328954 (Mitsubishi).
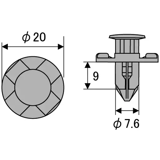
I have the hole size (7.7mm), and overall length (22mm), which were measured with a calliper. How does this relate to "Stem Length"? That is, what exactly is the stem length?
The following picture as an example - am I correct in assuming that the stem length is 9mm?
