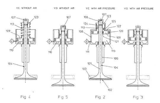
In the 2006 Formula 1 World Championship the rules allowed for pneumatic valvesprings.
These engines were required to have a 90° V8 engine with 2.4 liters of displacement, 4-valve-per cylinder layout with two overhead cams per cylinder bank and pneumatic valvesprings.
Some of these engines were exceeding 20,000 RPM's at the end of the season. Driving the reciprocal weight of a poppet valve at 20,000 RPM's is absolutely astonishing and from the outside looking in seems almost impossible.
My Question
How did the F1 engineers design these valves to function?
They were required to run cams so this wasn't a camless solution.
How did the cams interact with the pneumatic valve springs?
Did the engine drive a pneumatic pump that provided air pressure or did they need to fill an air tank much as the CART series team had to do with their pneumatic valve solution?
