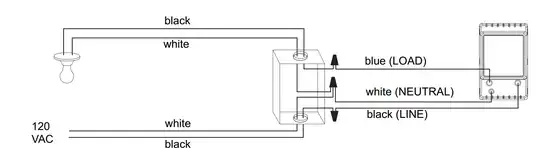
I'm trying install this programmable switch but the instructions do not match reality. The instructions refer to the existence of a black (load) cable and a white (neutral) cable supposedly coming out of the wall, but instead I have two black cables and a naked wire. Is the naked wire the equivalent of the white in the diagram?
1 Answers
The naked wire is the ground (sometimes colored green) and is not the same as the neutral.
Your particular installation requires a neutral so that the switch can be powered without sending power to the load. If there is no neutral in your electrical box it means that the power source (line) does not come into that box and instead you are just switching the hot from another source. A traditional single-pole single-throw switch only switches the hot so it does not need the neutral. There might be one behind the switch, it will have a wire nut on it and be connected to all the other neutral wires coming into the box. If present you should use this and not the ground.
If there is no neutral then unfortunately, you cannot install this type of switch in this location without running a new cable.
- 67,833
- 7
- 68
- 153
- 27,770
- 10
- 56
- 90
